Pezzi di ricambio e accessori Forni, Fornelli Elettrici e a Gas GAGGENAU EB388110/11

Tutti pezzi di ricambio GAGGENAU Forni, Fornelli Elettrici e a Gas EB388110/11

Piastra

Ref : 00212853

Marche : GAGGENAU
Piastra per Forni, Fornelli Elettrici e a Gas GAGGENAU
Su ordinazione

  

132,10 € IVA inclusa
Carrello

Piastra

Ref : 00212854

Marche : GAGGENAU
Piastra per Forni, Fornelli Elettrici e a Gas GAGGENAU
Su ordinazione

  

294,40 € IVA inclusa
Carrello

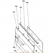
Porta anteriore (numero di riferimento 212890)

Ref : 00212890

Marche : GAGGENAU
Porta anteriore (numero di riferimento 212890) per Forni, Fornelli Elettrici e a Gas GAGGENAU
Su ordinazione

  

539,40 € IVA inclusa
Carrello

Pulsante del forno (riferimento 105)

Ref : 00628466

Marche : GAGGENAU
Pulsante del forno (riferimento 105) per Forni, Fornelli Elettrici e a Gas GAGGENAU
Disponibilie

  

93,50 € IVA inclusa
Carrello

Sensore

Ref : 00156876

Marche : GAGGENAU
Sensore per Forni, Fornelli Elettrici e a Gas GAGGENAU
Su ordinazione

  

78,20 € IVA inclusa
Carrello

Sonda di controllo

Ref : 00156838

Marche : BOSCH, GAGGENAU,...
Sonda di controllo per Forni, Fornelli Elettrici e a Gas BOSCH, GAGGENAU, SIEMENS
Disponibilie

  

59,90 € IVA inclusa
Carrello

Vetro intermedio

Ref : 00292909

Marche : GAGGENAU
Vetro intermedio per Forni, Fornelli Elettrici e a Gas GAGGENAU
Su ordinazione

  

98,40 € IVA inclusa
Carrello

Cerniera della porta originale

Ref : 00263083

Marche : GAGGENAU
Cerniera della porta originale per Forni, Fornelli Elettrici e a Gas GAGGENAU

Questo prodotto non è più fabbricato o commercializzato dal produttore

Resistenza Circolare

Ref : 00298486

Marche : GAGGENAU
Resistenza Circolare per Forni, Fornelli Elettrici e a Gas GAGGENAU

Questo prodotto non è più fabbricato o commercializzato dal produttore

Non trovate il vostro pezzo

Non tutti i pezzi disponibili sono visibili sul sito.
Non esitate a chiedere un preventivo! Servizio clienti vi risponderà in 24 ore massimo.

Richiedete un preventivo

Accessori e prodotti per la pulizia

Codes APE/NAF éligibles
Il mio carrello

Nessun prodotto

Conferma il mio ordine Continuer mes achats
Alto